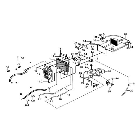
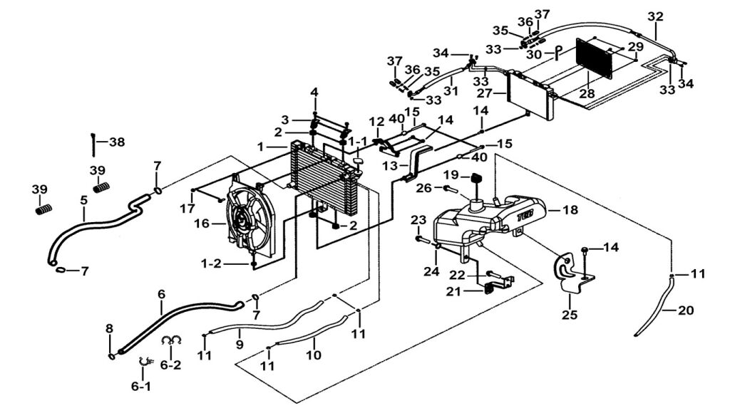
RADIATOR ASSY.、COOLING FAN (FOR EURO 5 )

  • Manufacturer  TGB
  • Product Code  TGB_1_118_FBH-JJDLE
ON REQUEST
Product Code TGB_1_118_FBH-JJDLE
PARTS CATEGORY: ENGINE PARTS
Select BRAND: TGB
Select TYPE: BLADE 600LTX
Select MODEL: BLADE 600LTX MAX E5